
用途
液压提升整粒机可直接将沸腾制粒机料仓内的物料制成所需要的颗粒进入总混料桶。它不仅具有噪音低、易清洗、粒度容易控制等突出持点,而且将沸腾制粒、整粒、总混这三道制药工序紧密地连接在一起,优化了生产工艺流程,有效地杜绝了粉尘飞扬和交叉污染,减轻了劳动强度,提高了工作效率,是制药企业实现密闭型生产的理想设备。
特点
? 采用SUS304~SUS316L不锈钢制造,凡与物料接触部分进行抛光,表面粗糙度达到Ra02。提升臂槽进行了帘布式隔离处理,造型美观;
? 采用了电,液集成控制技术,性能稳定可靠;使用遥杆操作系统,使用方便灵活;可在任意高度自动锁定,满足生产的不同需要;
? 设计了储油盘,采用进口密封圈,杜绝了液压油泄漏而污染洁净区域;
? 液压回路有自动保压功能,即使停电,提升臂亦可保持在原来位置;
? 如一旦发生液压泄漏而降压,就会自动报警,该机会自动启动增压,保持提升臂的位置,不会损坏其他设备,确保生产安全;
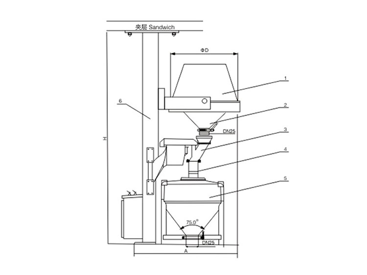
? 锥斗根据沸腾制粒机料仓定制,并配置密封装置,杜绝料仓翻转时粉尘飞扬,特制无死角易清洗出料碟阀,出料方便亦可拆卸清洗;
? 整粒机刀主轴转动采用变频调整,整粒刀与筛网之间的间隙也可进行调整,能满足不同产品的需求;
? 整粒机安装在提升机的立柱上,使提升机与整粒机形成一个整体,操作简便,节省空间。
技术参数

本公司可按用户特殊要求定制生产,如有变动,恕不预先通知!