网站主页
关于吉瑞
董事长致辞
企业简介
卓越管理
资质荣誉
办公环境
车间装备
产品展示
制粒系列
干燥系列
混合系列
周转系列
清洗系列
配套系列
换热器
新闻动态
成功案例
jnty com-(中国)科技公司
您现在所在的位置:
首页
>
产品展示
>
混合系列
> VH系列V型混合机
制粒系列
jnty com-(中国)科技公司
GHL高效湿法混合制粒机
DFL多功能制粒包衣机
FL沸腾干燥制粒机
干燥系列
闭路沸腾干燥机
FG沸腾干燥机
YZG/FZG真空干燥机
GGD高真空干燥箱
GZL立式真空振动流动干燥机
GZW卧式振动真空干燥机
SZG双锥回转真空干燥机
ZLG中药浸膏喷雾干燥机
DWT带式干燥机
DW带式干燥机
XF沸腾干燥机
GM百级干热灭菌柜
CT/CT-C热风循环烘箱
混合系列
ZTH快夹式全自动混合机
SYH高效三维运动混合机
DTH单立柱全自动提升料斗混合机
FH方锥混合机
EYH二维运动混合机
VH系列V型混合机
WHJ实验室料斗混合机
DSH系列锥形双螺杆螺旋混合机
周转系列
YDX料桶提升加料机
YYT移动伸缩式提升加料机
NTG固定提升加料机
YTZ液压提升整料转料机
ZSL-III系列真空上料机
CYT层间液压提升机
ZLT混合周转料桶
清洗系列
QXZ系列全自动清洗站系统
TQXZ型单柱提升清洗机
QXJ多用途清洗机
YQ移动清洗机
配套系列
ZS振动筛粉机
FZ粉碎整粒机
YK160摇摆式颗粒机
30B系列吸尘粉碎机组
换热器
碳化硅列管换热器
可拆式螺旋螺纹管换热器
螺旋螺纹管换热器
jnty com-(中国)科技公司
联系人:王总
电话:0510-86184255
传真:0510-86173899
E-mail:jyjirui88@163.com
网址:www.jyjirui.cn
地址:江阴南闸东盟科技园东盟路8号
VH系列V型混合机
VH系列V型混合机
概述
本机适用于制药、化工、食品等行业两种以上千粉状、颗粒状物料的混和。
该机混和筒结构独特,混和效率高、无死角,采用不锈钢材料制作,内外壁抛光处理,外形美观,混和均匀,适用面较宽,并能根据用户的要求配套强制搅拌器,以适合较细的粉粒、块状、含有一定水份的物料混合之用
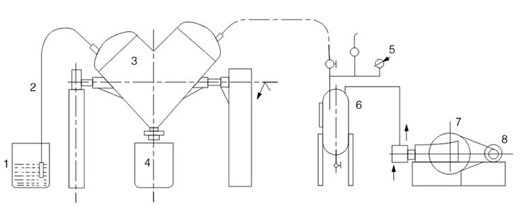
结构示意图
1.物料筒 2.吸料筒 3.混合机 4.出料筒 5.真空表 6.气体净化罐 7.真空泵 8.电动机
技术参数
本公司可按用户特殊要求定制生产,如有变动,恕不预先通知!
返回目录
相关产品:
WHJ实验室料斗混合机
DSH系列锥形双螺杆螺旋混合机
Copyright (c) 2015 jnty com-(中国)科技公司.All rights reserved.
分享到: